定位中
退出
广告
综述 参数配置 图片 视频 文章 测评
2021年交付欧洲市场/德国工厂生产 特斯拉Model Y最新消息
2021年交付欧洲市场/德国工厂生产 特斯拉Model Y最新消息 近日,邦老师从海外媒体获悉,为了加快施工进程,特斯拉位于德国的柏林超级工厂目前采取了预制施工的方法。据悉,部分已经下单的欧洲订购用户将有望更早的提到特斯拉Model Y车型。 一位外国网友爆料称,他
马斯克发推:4680新电池将率先在柏林超级工厂使用
马斯克发推:4680新电池将率先在柏林超级工厂使用 日前,特斯拉CEO马斯克在推特上发布了几条推文,信息量很大,邦老师简单总结一下就是,前不久电池日上公布的某些黑科技,将率先应用到德国的柏林超级工厂,之后再逐步过渡到美国的费利蒙超级工厂和中国的上海超级
特斯拉或推Model Y改款车型  将在德国工厂生产
特斯拉或推Model Y改款车型 将在德国工厂生产 日前,邦老师从外媒获悉,特斯拉或将推出Model Y的改款、升级车型,将最先在德国超级工厂生产。 据外媒报道,马斯克近日在参观特斯拉柏林超级工厂工地时透露,特斯拉在德国超级工厂生产的Model Y车型
不买也能开上特斯拉!  一天只要一百多
不买也能开上特斯拉! 一天只要一百多 日前,据外媒报道,特斯拉在美国针对Model Y车型推出了租赁服务,价格低至3488/月。 其中,长续航版每月租金为499美元,约合人民币3488元;高性能版每月679美元,约合人民币4747元。但无
特斯拉Model Y推新款替代现入门车型  约28万起!比国产Model 3还便宜!
特斯拉Model Y推新款替代现入门车型 约28万起!比国产Model 3还便宜! 日前,特斯拉首席执行官埃隆·马斯克通过社交媒体表示,由于目前规划的入门级Model Y的续航里程太短,EPA测试工况下只有250英里(约402公里),特斯拉以后将不再生产这一车型。 重
特斯拉又降价!这次轮到Model Y了
特斯拉又降价!这次轮到Model Y了 特斯拉频繁降价已经不是新鲜事,继Model 3不断调价之后,现在也轮到Model Y系列了。 7月12日消息,特斯拉宣布将其最新款车型Model Y的价格下调3000美元,长续航版起售价为4.999万
拿着Model 3的钱想买Model Y?我劝你少喝点儿
拿着Model 3的钱想买Model Y?我劝你少喝点儿 电池日?市值达到全球车企第一?甭跟我提这些有的没的,对于特斯拉,相信大家伙儿今年最为期待的事情,就是Model Y的国产了吧!随着Model Y在美国的量产交付,特斯拉“SEXY&rdqu
特斯拉Model Y后座未固定就交付?你是来搞笑的吗?
特斯拉Model Y后座未固定就交付?你是来搞笑的吗? 近日,据外媒报道称,特斯拉向客户交付的部分Model Y车型存在“重大缺陷”,用户用车过程中发现存在安全带太松、后排座椅没有固定等问题,而部分将要提车的用户表示拒绝接收车辆。
马斯克致员工信泄露 称Model Y产能遭遇严重问题
马斯克致员工信泄露 称Model Y产能遭遇严重问题 近日,据外媒报道,特斯拉首席执行官埃隆·马斯克发给员工的一封电子邮件泄露,邮件内容提到,特斯拉在Model Y的生产上面临着严重问题。 据悉,马斯克在发给员工的邮件中表示,Model
不再带给我们惊喜的Model Y,为什么还能让我们兴奋?
不再带给我们惊喜的Model Y,为什么还能让我们兴奋? 特斯拉Model Y,一辆很特斯拉,又不仅仅是特斯拉的车。
疯狂!特斯拉股价连创新高,黑科技不断。Model Y有可能采用整体压铸车身?
疯狂!特斯拉股价连创新高,黑科技不断。Model Y有可能采用整体压铸车身? 新冠疫情对中国的经济显然造成了不小的影响,春节后的A股开市就迎来一波千股跌停。不过在大洋彼岸,美股却有不一样的表现。尤其是电动汽车的领军者特斯拉,受多重利好的刺激,特斯拉的股票一路飘红。 截至2月4
北美最快下个月交付 特斯拉Model Y怎么选?
北美最快下个月交付 特斯拉Model Y怎么选? 在特斯拉 2019 年“第四季度及全年致股东函”中提及到了更多关于 Model Y 的信息。 1. Model Y 生产进度提前,已经在弗里蒙特工厂生产,产能在1月份已经开始爬
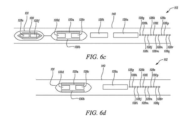
特斯拉公布全新布线架构专利,整车线束长度有望缩小至 100 m
特斯拉公布全新布线架构专利,整车线束长度有望缩小至 100 m 根据外媒报道,特斯拉最近为一种全新的车辆布线架构申请了专利。这项专利有望率先应用在 Model Y 上,这样 Model Y 的线束总长度将不超过 100 m,这将大大降低该车车身内线束的复
Model Y 将引入国产/ V3超充桩下半年引入,特斯拉公布最新规划
Model Y 将引入国产/ V3超充桩下半年引入,特斯拉公布最新规划 日前,特斯拉官方公布了该公司接下来在中国市场的规划。这些规划涉及特斯拉的产品布局、售后服务以及上海工厂等方面的信息,其中特斯拉宣布 Model Y 车型也将在未来引入国产。 产品布局方面,特斯拉Mo
注意:特斯拉 Model Y 出没
注意:特斯拉 Model Y 出没 5月11日,Twitter 账号 ChargePoint 发布了一张特斯拉 Model Y 的照片,这应当是 Model Y 的试制车型首次在公共场合被目击。 可惜的是照片只有一张,而且还是尾部。C
对标特斯拉 Model Y,搭载 80 千瓦时电池,美国车企 Fisker 将推新款 SUV
对标特斯拉 Model Y,搭载 80 千瓦时电池,美国车企 Fisker 将推新款 SUV 日前 Fisker(美国的一家汽车公司,2007 年成立)官方发布了旗下一款纯电动 SUV 的预告图,该车定位一款中型 SUV,对标车型为特斯拉的 Model Y。新车搭载 80 千瓦时的电池组,续航
刚刚忽悠我买Model 3,现在特斯拉Model Y公布中国售价43.5万起
刚刚忽悠我买Model 3,现在特斯拉Model Y公布中国售价43.5万起 电动小侦探从特斯拉官网获悉,日前,特斯拉在中国官网公布了特斯拉最近车型 Model Y 的中国售价43.5万-52.6万。 Model Y是特斯拉刚刚发布的第二款SUV车型,新车整体定位比 Model
售价26万起,百公里加速3.5秒,特斯拉Model Y的重点信息来了
售价26万起,百公里加速3.5秒,特斯拉Model Y的重点信息来了 3月15日,特斯拉Model Y正式发布,全系共有4个版本,售价3.9-6万美元之间(约26-40.3万元人民币)。以下是关于Model Y的重点信息: ▲ 从左至右依次为:Model S、Mod
终于,国产的特斯拉,淋上了印度的咖喱汁
终于,国产的特斯拉,淋上了印度的咖喱汁 ​这顿迟到了十年的咖喱餐,老马终于是吃上了!
特斯拉Model S/X迎来焕新,细节优化伴随价格上调
特斯拉Model S/X迎来焕新,细节优化伴随价格上调 最大的变化,或是价格~~
查看更多内容